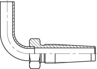
STANDPIPE 90° BEND

Product group: 200
Type: 90°
Connection: Stand pipe
Product code: 2027-XX